Affiliate links on Android Authority may earn us a commission.Learn more.
Is Samsung planning to release a smartphone with a dual-camera setup?
August 14, 2025
Smartphones with rear dual-camera setups are gaining popularity on the market. There are quite a few of them already available including theHUAWEI P10andLG G6, which were announced atMobile World Congress2017.
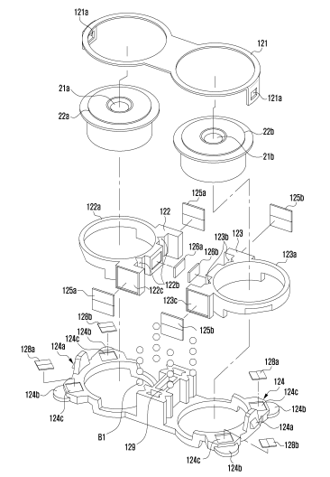
It now looks like Samsung is also planning to join in on the fun. The company has recently filed a patent for a dual-camera sensor, which is thinner and should perform better in low-light conditions when compared with the sensors that are currently available on the market. Additionally, it is also capable of capturing 3D photos.

It is great to see that Samsung is working on its own dual-camera sensor. However, it does bring up the question of which device will be the first to feature it. If you have been following any of the recentGalaxy S8/S8+rumors, you already know that the upcoming flagship devices will not have two cameras on the back.
This means that the Galaxy Note 8 might be the first Samsung device with a dual-camera setup, or maybe even the Galaxy S9, which will be announced in 2018. It is also possible that Samsung will scrap the idea, but given the fact that the dual-camera setup is becoming increasingly popular with consumers, we doubt that will happen.

Do you want to see a Samsung smartphone with a dual-camera setup? Which model do you think will be the first to feature it? Let us know down below.
Thank you for being part of our community. Read ourComment Policybefore posting.
